Gli Smartphone del futuro secondo Samsung tra magneti, sensori nascosti e doppi display

Samsung prova a reinventare gli smartphone del futuro andando a brevettare diverse soluzioni alternative che utilizzano magneti, fori nel display, doppi display e sensori nascosti sotto il displayGli...

23 dicembre 2018 18:00
Gli Smartphone del futuro secondo Samsung tra magneti, sensori nascosti e doppi display -
Condividi

Samsung prova a reinventare gli smartphone del futuro andando a brevettare diverse soluzioni alternative che utilizzano magneti, fori nel display, doppi display e sensori nascosti sotto il display

ENTRA NEL NOSTRO GRUPPO ESCLUSIVO DI OFFERTE TECH, CON OLTRE 16.000 APPASSIONATI! SCOPRI OGNI GIORNO SCONTI IMPERDIBILI, SCELTI UNO AD UNO. CLICCA QUI E INIZIA A RISPARMIARE!

Gli Smartphone del futuro secondo Samsung tra magneti, sensori nascosti e doppi display

Ormai manca poco, due mesetti circa o forse anche meno, e il Galaxy S10 sarà presentato da Samsung in pompa magna, forse al MWC 2019 di Barcellona o qualche settimana prima.

Ma in rete spuntano già diversi brevetti per gli smartphone del futuro di Samsung che mostrano, come il design borderless non sia per niente la fine del design per i dispositivi mobili, ma che potremmo vedere diverse soluzioni alternative.

Ecco che Samsung ha brevettato diverse soluzioni che passano dai sensori biometrici sotto il display, come lo scanner dell'iride, slider con doppio schermo nascosto e particolari magneti che tengono in piedi due parti dello smartphone per raddoppiare la dimensione dello schermo.

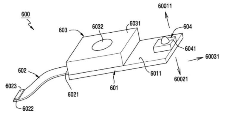
Sensori sotto il display

Partiamo da sensori nascosti sotto il display, dove secondo il primo brevetto, lo scanner dell'iride, andremo a nascondersi sotto il display, magari per una futura integrazione nei dispositivi indossabili.

Doppio schermo ma non sul retro

L'odiato notch è giunto al capolinea, è bastato solo un anno per trovare soluzioni alternative, e Samsung, che non ha mai spalleggiato questa soluzione, prima ha "forato" il display ed ora punta ad integrare sensori, fotocamera ed anche un piccolo secondo display nel movimento slider del dello schermo.

Doppi schermi e magneti

Passiamo all'ultimo brevetto, che forse è il più alternativo, che prevede l'utilizzo di magneti e particolari incastri per offrire doppi display, da usare magari come doppio monitor, tastiera o estensione del primo schermo.

Ecco la galleria dei brevetti Samsung che potremmo rivedere in alcuni smartphone del futuro (ma non troppo).

Sai che siamo anche su WhatsApp? Iscriviti subito al canale di YourLifeUpdated per restare sempre informato su guide e notizie tecnologiche


HAI BISOGNO DI ASSISTENZA? Unisciti al nostro Gruppo di supporto su Telegram - CLICCA QUI


NON HAI TELEGRAM? UNISCITI AL NOSTRO GRUPPO FACEBOOK Unisciti al nostro Gruppo di supporto su Facebook - CLICCA QUI


Aspetta.. Prima di lasciare la pagina leggi qui

UNISCITI AL GRUPPO DELLE OFFERTE TECH, SIAMO GIÀ 16.000! OGNI GIORNO SELEZIONIAMO PER TE LE MIGLIORI OFFERTE PER RISPARMIARE TEMPO E DENARO. NON FARTI SCAPPARE NESSUNA OCCASIONE, ENTRA ORA!


YOURLIFEUPDATED È STATO SELEZIONATO DAL NUOVO SERVIZIO DI GOOGLE NEWS: se vuoi essere sempre aggiornato sulle nostre notizie SEGUICI QUI


YOURLIFEUPDATED HA UN CANALE TELEGRAM CHE RACCOGLIE TUTTE LE ULTIME NOTIZIE: se vuoi essere sempre aggiornato SEGUICI QUI


YOURLIFEUPDATED HA UN CANALE YOUTUBE CON OLTRE 10.000 ISCRITTI, UNISCITI ANCHE TU: se vuoi essere sempre aggiornato SEGUICI QUI


NON HAI ANCORA AMAZON PRIME? Attivalo gratis ORA - CLICCA QUI


CERCHI LE MIGLIORI OFFERTE DI AMAZON? Scoprile QUI sempre aggiornate

Le migliori notizie, ogni giorno, via e-mail

Segui YourLifeUpdated