Rumor: Tablet Apple con stylus…?

Sul web apprendo che potrebbe esistere, da parte di Apple, un idea di tablet con scrittura tramite penna.Quindi nonostante la Apple ha sempre rifiutato il “pennino” a favore del Multi-touch, stavolta...

13 novembre 2009 11:17
Rumor: Tablet Apple con stylus…? -
Condividi

Sul web apprendo che potrebbe esistere, da parte di Apple, un idea di tablet con scrittura tramite penna.

Quindi nonostante la Apple ha sempre rifiutato il “pennino” a favore del Multi-touch, stavolta sembrerebbe intenzionata ad indagare i possibili sviluppi di una nuova tecnologia di scrittura.

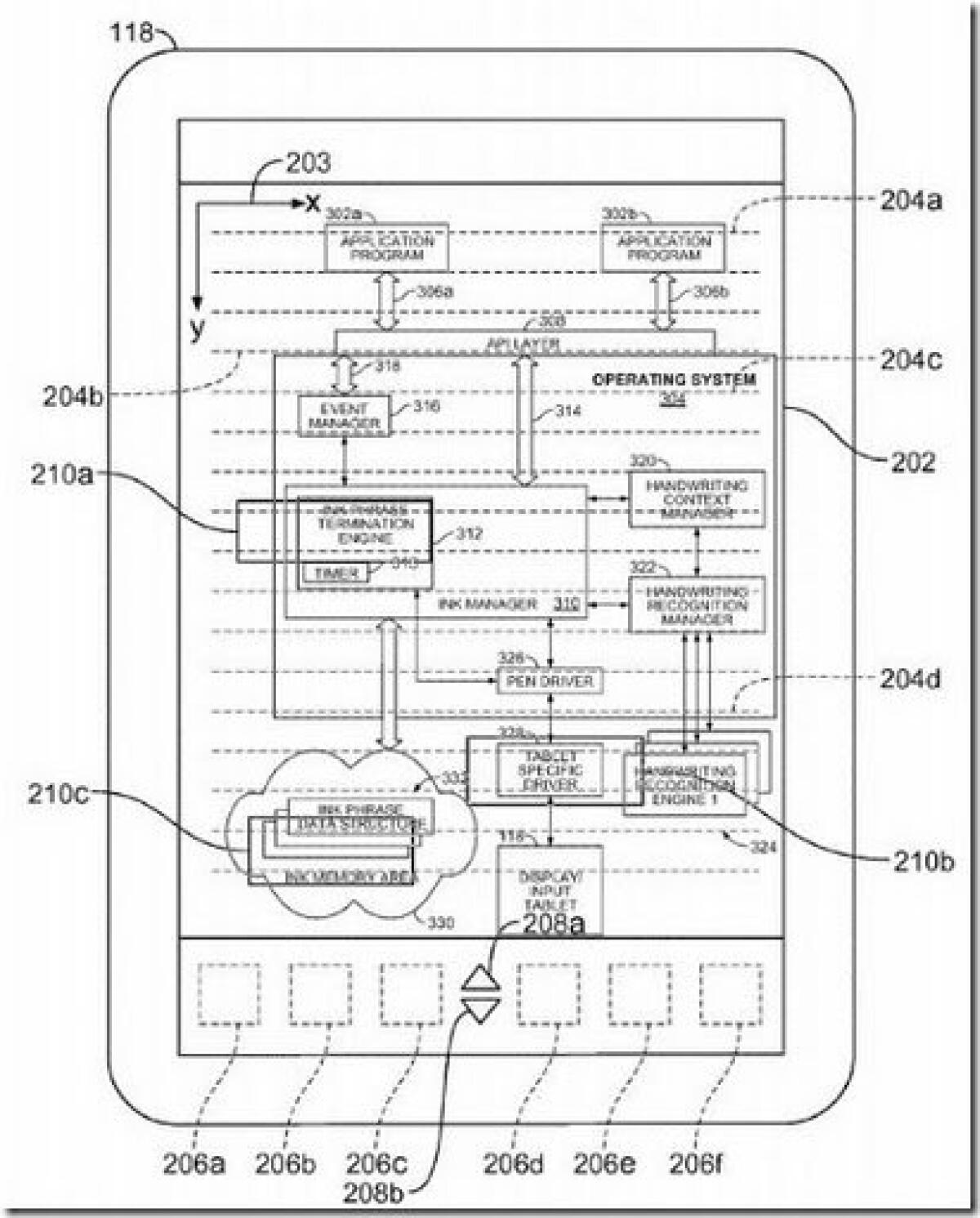
Ecco l’immagine del brevetto:

500x_appletabletpatent3

Questa tecnologia avrebbe un nome, ovvero “Method and Apparatus for Acquiring and Organizing Ink Information in Pen-aware Computer Systems”

Un metodo per acquisire e organizzare le informazioni dell’inchiostro? Cosa avrà in mente Apple?   

Via | appleinsider

Vuoi restare sempre aggiornato sul mondo tech?

👉 Iscriviti al canale WhatsApp di YourLifeUpdated
Ricevi solo le notizie e le guide più importanti, senza spam.

Hai bisogno di aiuto o consigli rapidi?

💬 Supporto diretto: entra nel gruppo Telegram – CLICCA QUI
👥 In alternativa, unisciti al nostro Gruppo Facebook

🔥 Le migliori offerte tech, ogni giorno

💰 Unisciti al gruppo OFFERTE TECH (oltre 16.000 utenti)
Seleziono solo offerte davvero convenienti per farti risparmiare tempo e denaro.

Seguici anche qui:

📰 Google News o Facebook – per non perdere nessuna novità
🎥 YouTube – recensioni oneste, test e guide pratiche

💡 Vuoi risparmiare su Amazon?

🚀 Prova Amazon Prime gratis oppure
🛒 scopri le migliori offerte Amazon di oggi

Le migliori notizie, ogni giorno, via e-mail

Segui YourLifeUpdated